Sun Microsystems, Inc.   Oracle System Handbook - ISO 7.0 May 2018 Internal/Partner Edition
   Home | Current Systems | Former STK Products | EOL Systems | Components | General Info | Search | Feedback



SPARCstorage FlexiPack / StorEdge FlexiPack

6060 6061 6062
35-70GB DLT7000
68-68 Pin Cable
Light Grey
35-70GB DLT7000
50-68 Pin Cable
Light Grey
35-70GB DLT7000
68-68 Pin Cable
Medium Grey
TAPDLT-021A TAPDLT-022A
35-70GB DLT7000
w/o Cable
Light Grey
40-80GB DLT8000
w/o Cable
Medium Grey



Table Legend
[F] = Field Replaceable Unit (FRU)
NS = Not Shown

CODE PART # DESCRIPTION
-
-
-
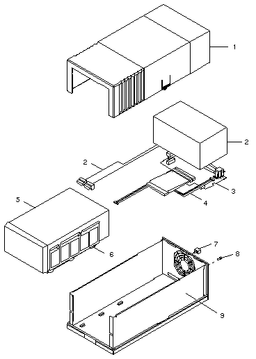
1
1
2
3
4
599-2127
599-2165
599-2347
540-3043
540-3418
300-1324 [F]
501-4357 [F]
530-2372 [F]
DLT7000 FlexiPack, Light Grey
DLT7000 FlexiPack, Medium Grey
DLT8000 FlexiPack, Medium Grey
Full-Height Tape Drive Cover, Light Grey
Full-Height Tape Drive Cover, Medium Grey
48 Watt Power Supply, Type A120
Full-Height 16-Bit SCSI I/O Board
Address Select Cable
5
5
6
-
-
-
-
540-3046
540-3414
340-3645
370-2847 [F]
370-3330 [F]
370-2329 [F]
370-3331 [F]
DLT7000 Tape Drive Assembly, Light Grey
DLT7000 Tape Drive Assembly, Medium Grey
Mounting Bracket
35-70GB DLT7000 Tape Drive, Light Grey
35-70GB DLT7000 Tape Drive, Light Grey
35-70GB DLT7000 Tape Drive, Medium Grey
35-70GB DLT7000 Tape Drive, Medium Grey
5
6
-
-
540-4400
340-3645
390-0031 [F]
390-0086 [F]
DLT8000 Tape Drive Assembly, Medium Grey
Mounting Bracket
40-80GB DLT8000 Tape Drive, Medium Grey
40-80GB DLT8000 Tape Drive, Light Grey 1
7
8
9
9
540-1982
240-2180
540-3045
540-3416
Lockbox
#4-40M/#2-56F Jackscrew
Base Assembly, Light Grey
Base Assembly, Medium Grey
NS 330-1937 I/O Board Insulation
NS 330-2325 Top Cover Foam
NS 330-2325 Side Rail Foam
NS 340-4360 Removable Storage Tray Mounting Bracket
NS 370-2188 Data Cartridge
NS 370-2189 Cleaning Cartridge
NS 530-1884 [F] External SCSI Cable, HD68 to HD68, 80 cm
NS 530-2115 [F] External SCSI Cable, HD68 to HD50, 1.2M
NS 530-2183 [F] LED Cable

802-7739 SPARCstorage FlexiPack Service Label
  1. The FlexiPack was not sold with a light grey DLT8000.
    390-0086 is a Services replacement for the light grey DLT7000.


Reference:

1006461.1 - SPARCstorage(R) DLT8000 LED reports " tape in use" status after an unload is attempted
  Copyright © 2018 Oracle and/or its affiliates.  All rights reserved.
 Feedback