Sun Microsystems, Inc.   Oracle System Handbook - ISO 7.0 May 2018 Internal/Partner Edition
   Home | Current Systems | Former STK Products | EOL Systems | Components | General Info | Search | Feedback

Volume I: SCSI

Sun-2 SCSI Host Adapter

Sun-3/75/140/150/160/180/260/280
Sun-4/260/280
501-1045

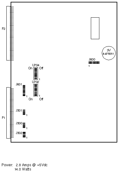
Jumper and Switch Settings

  Copyright © 2018 Oracle and/or its affiliates.  All rights reserved.
 Feedback