Sun Microsystems, Inc.   Oracle System Handbook - ISO 7.0 May 2018 Internal/Partner Edition
   Home | Current Systems | Former STK Products | EOL Systems | Components | General Info | Search | Feedback

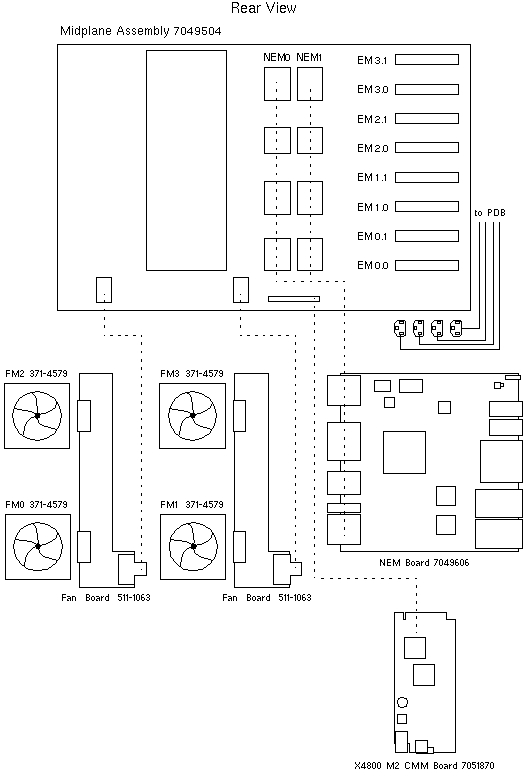
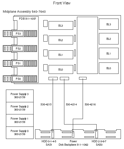
Sun Server X2-8 / Sun Fire X4800 M2 Wiring Diagrams

Rear View
Rear View without EU Directive 2002/95/EC
Front View
Front View without EU Directive 2002/95/EC






without EU Directive 2002/95/EC exemptions 7(c)-III and 1 1(b) that expire 1 January 2013







without EU Directive 2002/95/EC exemptions 7(c)-III and 1 1(b) that expire 1 January 2013


  Copyright © 2018 Oracle and/or its affiliates.  All rights reserved.
 Feedback