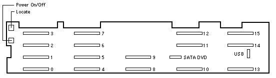
16-Slot Disk Backplane
| 511-1372 |
7020814 |
FAB 271-1372 Pkg FRU F511-1372 |
FAB 271-1372 Pkg FRU 7020820 |
|
Front View |
 |
|
|
Rear View |
 |
|
SPARC T3-1 Codename: Serpa |
Notes
- Cable Kit 560-2959 includes 530-4418, 530-4419, and 530-4490.
- Use care when removing 530-4490 from J3302. The connector is easily damaged.
- Backplane 511-1372 does not support zoning. Backplane 7020814 supports zoning.
- Patch 147034-01 and T3-1 Patch 147315-03 add zoning support to 511-1372.
- Backplane 7020814 is equal to 511-1372 with Patch 147034-01.
References
SPARC T3-1 Server Documentation.
|