Oracle System Handbook
- ISO 7.0 May 2018 Internal/Partner Edition
Home
|
Current Systems
|
Former STK Products
|
EOL Systems
|
Components
|
General Info
|
Search
|
Feedback
12-Slot SCSI Disk Backplane
Hmm, you are using a very old browser. Click here to go directly to included content.
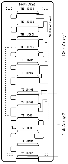
501-4440
Front View
Rear View
StorEdge D1000 Controller Address Settings
SWITCH
DIP
SETTING
DESCRIPTION
SW1
1
Up
Down
Array 1 drive addresses 8-13 (default)
Array 1 drive addresses 0-5
SW1
2
Up
Down
Array 2 drive addresses 8-13
Array 2 drive addresses 0-5 (default)
Copyright © 2018 Oracle and/or its affiliates. All rights reserved.
Feedback