Sun Microsystems, Inc.   Oracle System Handbook - ISO 7.0 May 2018 Internal/Partner Edition
   Home | Current Systems | Former STK Products | EOL Systems | Components | General Info | Search | Feedback



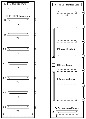
7-Slot SCSI Disk Backplane

SPARCstorage RSM

370-2198
FRU Assembly

Note

FRU 370-2198 includes the Chassis, Operator Panel, Operator Panel Cable, and Centerplane. Individual parts are not available.

Reference

SPARCstorage RSM Installation, Operations, and Service, 802-5062.

  Copyright © 2018 Oracle and/or its affiliates.  All rights reserved.
 Feedback