Sun Microsystems, Inc.   Oracle System Handbook - ISO 7.0 May 2018 Internal/Partner Edition
   Home | Current Systems | Former STK Products | EOL Systems | Components | General Info | Search | Feedback



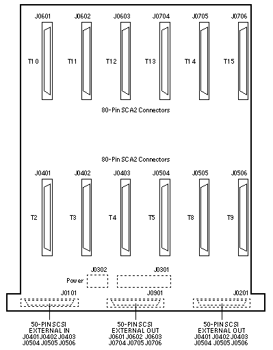
12-Slot SCSI Disk Backplane

SPARCstorage MultiPack

501-2899
Fast/Wide SCSI

MultiPack Codename: Combo



12-Slot SCSI Disk Backplane

Codename: Breadbox A

Netra i 150 / Netra nfs 150 / E150

501-3081


  Copyright © 2018 Oracle and/or its affiliates.  All rights reserved.
 Feedback