Sun Microsystems, Inc.   Oracle System Handbook - ISO 7.0 May 2018 Internal/Partner Edition
   Home | Current Systems | Former STK Products | EOL Systems | Components | General Info | Search | Feedback



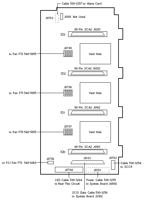
4-Slot SCSI Disk Backplane

501-6551 540-5853
Backplane Assembly/CRU

Go to post July 2006 version

Netra 440 Codename: Chalupa 19

References

  1. Sun Netra 440 Server Documentation.



4-Slot SCSI Disk Backplane

501-7344 540-6704
Backplane Assembly/CRU
Requires ALOM >=1.5.4

Go to pre July 2006 version

Netra 440 Codename: Chalupa 19

Notes

  1. Backplane 540-6704/501-7344 requires ALOM >=1.5.4. (Refer to BugID 15291277 [SUNBT6335060])

References

  1. Sun Netra 440 Server Documentation.

  Copyright © 2018 Oracle and/or its affiliates.  All rights reserved.
 Feedback