Sun Microsystems, Inc.   Oracle System Handbook - ISO 7.0 May 2018 Internal/Partner Edition
   Home | Current Systems | Former STK Products | EOL Systems | Components | General Info | Search | Feedback



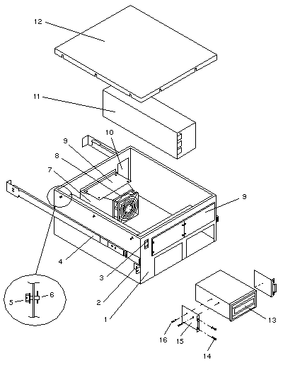
Multi-Tape Backup Tray

811 816 831 836 841 846
5GB 8 mm
w/o Tape Tray
5GB 8 mm
1 Tape Tray
10GB 8mm
w/o Tape Tray
10GB 8 mm
1 Tape Tray
14GB 8 mm
w/o Tape Tray
14GB 8 mm
1 Tape Tray



Table Legend
[F] = Field Replaceable Unit (FRU)
NS = Not Shown

CODE PART # DESCRIPTION
1 340-2566 Chassis Enclosure
2 340-2861 Tray Retaining Bracket (obsolete)
2 340-2862 Tray Retaining Bracket
3 150-1806 SCSI Address Select Switch
4 370-1385 [F] -01 Slide Rail Set, Inner 651.2 mm, Outer 742.7 mm
-03 Slide Rail Set, Inner 717.3 mm, Outer 742.7 mm
5 None Cross-Drilled Screw (use 240-1732-01)
6 None Screw Retaining Clip
7 340-2564 Fan Enclosure
8 370-1214 [F] DC Fan, 105 CFM
9 340-2641 Filler Panel (obsolete)
9 340-2835 Full-Height Filler Panel
9 340-2859 Half-Height Filler Panel
9 340-3369 Half-Height Filler Panel
10 340-2601 Connector Panel
11 300-1096 [F] 269 Watt Power Supply
11 300-1312 [F] 269 Watt Nordic Power Supply (Available 12/95)
12 340-2565 Top Cover
13 370-1415 [F] 5.0GB 8 mm Tape Drive, Full-Height, Black Bezel
13 370-1809 [F] 10GB 8 mm Tape Drive, Half-Height, Black Bezel
13 370-1856 [F] 14GB 8 mm Tape Drive, Half-Height, Black Bezel
14 240-1372 [F] M4 0.7 × 10 mm Screw
15 340-2148 [F] Peripheral Mounting Bracket
16 240-1141 [F] #6-32 × 1/4" Screw for 5GB
16 240-1530 [F] M3 0.5 × 6 mm Screw for 10GB and 14GB
NS 370-2344 8 mm Cleaning Kit
NS 530-1849 [F] Address Select Switch Cable (obsolete)
NS 530-1891 [F] Internal SCSI Bus Cable, 1.8M
NS 530-1892 [F] DC Wire Harness
NS 530-2058 4-Drive Address Select Switch Cable
NS 540-2252 Front Panel, 56-inch Rack with 4 Tape Drive Cutouts

800-7008 5.0 Gbyte 8mm Tape Drive Tray Service Manual

800-7340 Multi-Tape Backup Tray Service Manual


  Copyright © 2018 Oracle and/or its affiliates.  All rights reserved.
 Feedback