Sun Microsystems, Inc.   Oracle System Handbook - ISO 7.0 May 2018 Internal/Partner Edition
   Home | Current Systems | Former STK Products | EOL Systems | Components | General Info | Search | Feedback

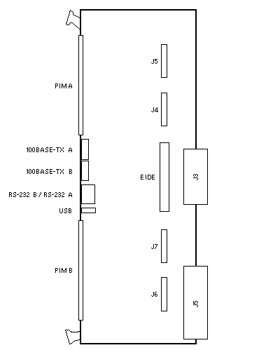
Rear CPU Transition Board

Telco: Netra CP2300, CT 820

Option XCP2300-TRN

375-3134

Netra CP2300 Codename: Snowbird
Netra CT 820 Codename: Sanibel21

Notes

  1. Set CP2300 System Board Dip Switch SW503 Switch 0 On to enable the Transition Card Ethernet ports.
  2. The Packet Switched Backplane Ethernet network is disabled when the Transition Card Ethernet is enabled .

References

  1. Netra CP2300 cPSB Board Documentation.
  2. Netra CT 820 Server Documentation.

  Copyright © 2018 Oracle and/or its affiliates.  All rights reserved.
 Feedback