PCI I/O Board and System Controller (IB_SSC)
Go to Upgrade Option 2764 (Controller = 501-6779)
Go to Upgrade Option 2764 (Controller = 501-7233/501-7325)
Go to Upgrade Option 2765 (I/O Board = 501-6812)
Go to Upgrade Option 2766 (I/O Board = 501-7544)
| 501-6012 |
501-6459 |
I/O Board
FAB 270-6012 |
System Controller
FAB 270-5407 |
| 540-4967 |
540-5290 |
IB_SSC Assembly Sun Fire V1280 |
FRU Assembly Sun Fire V1280 |
| 540-5564 |
540-5565 |
IB_SSC Assembly Netra 1280 |
FRU Assembly Netra 1280 |
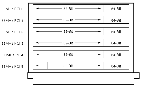
PCI Riser Assembly 540-4963 with PCI Riser 501-6013
I/O Board Cable Conections
(under Media Bay cover)
PCI Device Mapping
PHYSICAL SLOT # |
DEVICE PATH |
I/O CTLR # |
BUS |
| 0 |
/ssm@0,0/pci@18,700000/<device>@1 |
0 |
B |
| 1 |
/ssm@0,0/pci@18,700000/<device>@2 |
0 |
B |
| 2 |
/ssm@0,0/pci@19,700000/<device>@1 |
1 |
B |
| 3 |
/ssm@0,0/pci@19,700000/<device>@2 |
1 |
B |
| 4 |
/ssm@0,0/pci@19,700000/<device>@3 |
1 |
B |
| 5 |
/ssm@0,0/pci@18,600000/<device>@1 |
0 |
A |
| w |
/ssm@0,0/pci@18,600000/<device>@2 |
0 |
A |
| x |
/ssm@0,0/pci@18,700000/<device>@3 |
0 |
B |
| y |
/ssm@0,0/pci@19,600000/<device>@1 |
1 |
A |
| z |
/ssm@0,0/pci@19,600000/<device>@2 |
1 |
A |
|
w = onboard LSI 1010R SCSI controller
x = onboard CMD646U2 EIDE controller
y = onboard Gigaswift Ethernet controller 0 (NET0)
z = onboard Gigaswift Ethernet controller 1 (NET1)
|
|
Sun Fire V1280 Codename: Lightweight 8 |
Notes
- The minimum operating system is Solaris 8 02/02.
- The maximum PCI Card length is approximately 197 mm.
- The I/O Board and System Controller slot is labeled IB6_SSC1.
- The I/O Board and System Controller includes a toothed rack and the
chassis includes clutched pinions in the front of slot IB6_SSC1.
- Refer to the Install.info file of any Firmware patch for
information on firmware verification and compatibility.
Assembly Notes
- Assembly 540-4967 includes Top Cover/Door 540-5216, I/O Board 501-6012,
System Controller 501-6459, PCI Riser 501-6013, Dual Serial Cable 530-3101,
Ethernet Cable 530-3080, Thermal Fuse Bypass Cable 530-3253, and
two 540-5222 Fans.
- Assembly 540-5564 includes Top Cover/Door 540-5216, I/O Board 501-6012,
System Controller 501-6459, PCI Riser 501-6013, Dual Serial Cable 530-3101,
Ethernet Cable 530-3080, Thermal Fuse Cable 530-3198, and two 540-5222 Fans.
References
Sun Fire V1280 Server Documentation.
Sun Netra 1280 Server Documentation.
PCI I/O Board and System Controller (IB_SSC)
Upgrade Option 2764
| 501-6012 |
501-6779 |
I/O Board FAB 270-6012 |
System Controller FAB 270-6631 |
| 540-6047 |
540-6045 |
IB_SSC Assembly V1280/E2900 Option 2764 |
FRU Assembly V1280/E2900 |
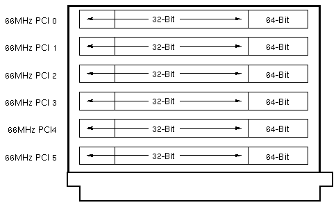
PCI Riser Assembly 540-4963 with PCI Riser 501-6013
I/O Board Cable Conections
(under Media Bay cover)
PCI Device Mapping
PHYSICAL SLOT # |
DEVICE PATH |
I/O CTLR # |
BUS |
| 0 |
/ssm@0,0/pci@18,700000/<device>@1 |
0 |
B |
| 1 |
/ssm@0,0/pci@18,700000/<device>@2 |
0 |
B |
| 2 |
/ssm@0,0/pci@19,700000/<device>@1 |
1 |
B |
| 3 |
/ssm@0,0/pci@19,700000/<device>@2 |
1 |
B |
| 4 |
/ssm@0,0/pci@19,700000/<device>@3 |
1 |
B |
| 5 |
/ssm@0,0/pci@18,600000/<device>@1 |
0 |
A |
| w |
/ssm@0,0/pci@18,600000/<device>@2 |
0 |
A |
| x |
/ssm@0,0/pci@18,700000/<device>@3 |
0 |
B |
| y |
/ssm@0,0/pci@19,600000/<device>@1 |
1 |
A |
| z |
/ssm@0,0/pci@19,600000/<device>@2 |
1 |
A |
|
w = onboard LSI 1010R SCSI controller
x = onboard CMD646U2 EIDE controller
y = onboard Gigaswift Ethernet controller 0 (NET0)
z = onboard Gigaswift Ethernet controller 1 (NET1)
|
Sun Fire V1280 Codename: Lightweight 8
Sun Fire E2900 Codename: Amazon 2 |
Notes
- The minimum E2900 operating system is Solaris 8 02/04 or Solaris 9 04/04.
- The maximum PCI Card length is approximately 197 mm.
- Version 2 of the IB_SSC includes advanced features, including enhanced
error logging. These features require firmware 5.17.0.
- The I/O Board and System Controller slot is labeled IB6_SSC1.
- The I/O Board and System Controller includes a toothed rack and the
chassis includes clutched pinions in the front of slot IB6_SSC1.
- Refer to the Install.info file of any Firmware patch for
information on firmware verification and compatibility.
Assembly Notes
- Assembly 540-6045 includes Top Cover/Door 540-6111, I/O Board 501-6012,
System Controller 501-6779, PCI Riser 501-6013, Dual Serial Cable 530-3101,
Ethernet Cable 530-3080, Thermal Fuse Bypass Cable 530-3253, and
two 540-5222 Fans.
- Assembly 540-6047 includes Top Cover/Door 540-6111, I/O Board 501-6012,
System Controller 501-6779, PCI Riser 501-6013, Dual Serial Cable 530-3101,
Ethernet Cable 530-3080, Thermal Fuse Bypass Cable 530-3253, and
two 540-5222 Fans.
References
Sun Fire V1280 Server Documentation.
Sun Netra 1280 Server Documentation.
Sun Fire E2900 Server Documentation.
PCI I/O Board and System Controller (IB_SSC)
Upgrade Option 2764A-Z
| 501-7326 |
501-7233 |
540-6882 |
541-1513 |
I/O Board FAB 270-6012 |
System Controller FAB 270-5407 |
IB_SSC Assembly V1280 FRU |
IB_SSC Assembly Netra 1280 FRU |
| 501-7326 |
501-7325 |
541-1388 |
541-2663 |
541-2664 |
I/O Board FAB 270-6012 |
System Controller FAB 270-6631 |
IB_SSC Assembly V1280/E2900 FRU
X2764A-Z |
IB_SSC Assembly Netra 1280 FRU |
IB_SSC Assembly E2900/V1280 FRU |
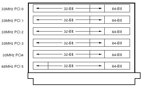
PCI Riser Assembly 540-6883 with PCI Riser 501-7230 (FAB 270-6013)
I/O Board Cable Conections
(under Media Bay cover)
PCI Device Mapping
PHYSICAL SLOT # |
DEVICE PATH |
I/O CTLR # |
BUS |
| 0 |
/ssm@0,0/pci@18,700000/<device>@1 |
0 |
B |
| 1 |
/ssm@0,0/pci@18,700000/<device>@2 |
0 |
B |
| 2 |
/ssm@0,0/pci@19,700000/<device>@1 |
1 |
B |
| 3 |
/ssm@0,0/pci@19,700000/<device>@2 |
1 |
B |
| 4 |
/ssm@0,0/pci@19,700000/<device>@3 |
1 |
B |
| 5 |
/ssm@0,0/pci@18,600000/<device>@1 |
0 |
A |
| w |
/ssm@0,0/pci@18,600000/<device>@2 |
0 |
A |
| x |
/ssm@0,0/pci@18,700000/<device>@3 |
0 |
B |
| y |
/ssm@0,0/pci@19,600000/<device>@1 |
1 |
A |
| z |
/ssm@0,0/pci@19,600000/<device>@2 |
1 |
A |
|
w = onboard LSI 1010R SCSI controller
x = onboard CMD646U2 EIDE controller
y = onboard Gigaswift Ethernet controller 0 (NET0)
z = onboard Gigaswift Ethernet controller 1 (NET1)
|
Sun Fire V1280 Codename: Lightweight 8
Sun Fire E2900 Codename: Amazon 2 |
Notes
- The minimum E2900 operating system is Solaris 8 02/04 or Solaris 9 04/04.
- The maximum PCI Card length is approximately 197 mm.
- Version 2 of the IB_SSC includes advanced features, including enhanced
error logging. These features require firmware 5.17.0.
- The I/O Board and System Controller slot is labeled IB6_SSC1.
- The I/O Board and System Controller includes a toothed rack and the
chassis includes clutched pinions in the front of slot IB6_SSC1.
- Clutch grease changed from Reell 9236-001 to 695-018 (Krytox GPL 226)
in February 2008.
(WO_38608)
- Refer to the Install.info file of any Firmware patch for
information on firmware verification and compatibility.
Assembly Notes
- Assembly 540-6882 includes Top Cover/Door 540-6817, I/O Board 501-7326,
System Controller 501-7233, PCI Riser 501-7230, Dual Serial Cable 530-3700,
Ethernet Cable 530-3574, Thermal Fuse Bypass Cable 530-3253, and
two 540-6818 Fans.
- Assembly 541-1513 includes Top Cover/Door 540-6823, I/O Board 501-7326,
System Controller 501-7233, PCI Riser 501-7230, Dual Serial Cable 530-3700,
Ethernet Cable 530-3574, Thermal Fuse Bypass Cable 530-3253, and
two 540-6818 Fans.
- Assembly 541-1388 includes Top Cover/Door 540-6817, I/O Board 501-7326,
System Controller 501-7325, PCI Riser 501-7230, Dual Serial Cable 530-3700,
Ethernet Cable 530-3574, Thermal Fuse Bypass Cable 530-3253, and
two 540-6818 Fans.
- Assembly 541-2663 includes Top Cover/Door 540-6823, I/O Board 501-7326,
System Controller 501-7325, PCI Riser 501-7230, Dual Serial Cable 530-3700,
Ethernet Cable 530-3574, Thermal Fuse Bypass Cable 530-3253, and
two 540-6818 Fans.
- Assembly 541-2664 includes Top Cover/Door 540-6817, I/O Board 501-7326,
System Controller 501-7325, PCI Riser 501-7230, Dual Serial Cable 530-3700,
Ethernet Cable 530-3574, Thermal Fuse Bypass Cable 530-3253, and
two 540-6818 Fans.
- Assembly 541-1513 was inactivated as a FRU in February 2008.
(WO_37134)
- Assembly 541-2664 was used as FRU F540-6882 under Deviation WO_38918.
References
Sun Fire V1280 Server Documentation.
Sun Netra 1280 Server Documentation.
Sun Fire E2900 Server Documentation.
PCI+ I/O Board and System Controller (IB_SSC)
Options 2765A / 2765A-Z
| 501-6812 |
501-6779 |
541-0382 |
I/O Board FAB 270-6812 |
System Controller Version 2 FAB 270-6631 |
IB_SSC Assembly/FRU Option 2765A |
| 501-7541 |
501-7325 |
541-1503 |
I/O Board FAB 270-6812 |
System Controller Version 2 FAB 270-6631 |
IB_SSC Assembly/FRU Option 2765A-Z |
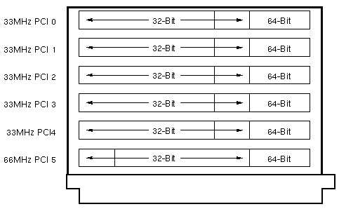
PCI Riser Assembly 541-0321 with PCI + Riser 501-6815
PCI + Riser Assembly 541-1511 with PCI + Riser 501-7542
I/O Board Cable Conections
(under Media Bay cover)
PCI+ Device Mapping
PHYSICAL SLOT # |
DEVICE PATH |
XMITS |
BUS |
| 0 |
/ssm@0,0/pci@19,600000/<device>@1 |
1 |
A |
| 1 |
/ssm@0,0/pci@19,600000/<device>@2 |
1 |
A |
| 2 |
/ssm@0,0/pci@19,700000/<device>@1 |
1 |
B |
| 3 |
/ssm@0,0/pci@19,700000/<device>@2 |
1 |
B |
| 4 |
/ssm@0,0/pci@18,600000/<device>@1 |
0 |
A |
| 5 |
/ssm@0,0/pci@18,600000/<device>@2 |
0 |
A |
| u |
/ssm@0,0/pci@18,700000/pci@4/bootbus-controller@3 |
0 |
B |
| v |
/ssm@0,0/pci@18,700000/pci@4/ide@2 |
0 |
B |
| w |
/ssm@0,0/pci@18,700000/scsi@2 |
0 |
B |
| x |
/ssm@0,0/pci@18,700000/scsi@2,1 |
0 |
B |
| y |
/ssm@0,0/pci@18,700000/network@1 |
0 |
B |
| z |
/ssm@0,0/pci@18,700000/network@3 |
0 |
B |
|
u = SBBC
v = DVD-R
w = LSI 1030 2× internal SCSI disks (Ultra320) + DAT
x = LSI 1030 external SCSI (Ultra320)
y = Ethernet controller ce0 (NET0)
z = Ethernet controller ce1 (NET1)
|
Sun Fire V1280 Codename: Lightweight 8
Sun Fire E2900 Codename: Amazon 2 |
Notes
- The minimum E2900 operating system is Solaris 8 02/04 or Solaris 9 04/04.
- The minimum PCI+ operating system is Solaris 8 02/04, Solaris 9 09/05,
or Solaris 10 3/05 HW1.
- Refer to FAB article
1001327.1
for instructions on installing Solaris 8 02/04.
- Refer to FAB article
1000952.1
for instructions on installing Solaris 9 09/05.
- The minimum Sun Fire V1280 and Sun Fire E2900 firmware is 5.19.3.
- Refer to the Install.info file of any Firmware patch for
information on firmware verification and compatibility.
Mechanical Notes
- The maximum PCI Card length is approximately 197 mm.
- The I/O Board and System Controller slot is labeled IB6_SSC1.
- The I/O Board and System Controller includes a toothed rack and the
chassis includes clutched pinions in the front of slot IB6_SSC1.
- Clutch grease changed from Reell 9236-001 to 695-018 (Krytox GPL 226)
in February 2008.
(WO_38608)
Assembly Notes
- Assembly 541-0382 includes Top Cover/Door 540-5216, I/O Board 501-6012,
System Controller 501-6779, PCI Riser 501-6815, Dual Serial Cable 530-3101,
Ethernet Cable 530-3080, Thermal Fuse Cable 530-3198, and
two 540-5222 Fans.
- Assembly 541-1503 includes Top Cover/Door 540-6817, I/O Board 501-7541,
System Controller 501-7325, PCI Riser 501-7542, Dual Serial Cable 530-3574,
Ethernet Cable 530-3700, Thermal Fuse Cable 530-3577, and
two 540-6818 Fans.
References
Sun Fire V1280 Server Documentation.
Sun Netra 1280 Server Documentation.
Sun Fire E2900 Server Documentation.
PCI-X I/O Board and System Controller (IB_SSC)
Option 2766A-Z
| 501-7544 |
501-7325 |
541-1486 |
|
I/O Board |
System Controller |
IB_SSC Assembly/FRU |
PCI-X Riser Assembly 541-1511 with PCI-X Riser 501-7542
PCI-X Device Mapping
For Physical Device Mapping, see Article
1003932.1
Physical device mapping for PCI-X I/O Boards (Sun Fire 4800, E4900, 6800,
E6900) and
PCI-X IB_SSC (Sun Fire v1280, E2900 and Sun Netra 1280, 1290).
Sun Fire V1280 Codename: Lightweight 8
Sun Fire E2900 Codename: Amazon 2 |
Notes
- The minimum PCI-X operating system is Solaris 9 09/05 or
Solaris 10 3/05 HW1.
- The minimum Sun Fire V1280 and Sun Fire E2900 firmware is 5.20.1.
- Refer to the Install.info file of any Firmware patch for
information on firmware verification and compatibility.
Mechanical Notes
- The I/O Board and System Controller slot is labeled IB6_SSC1.
- The I/O Board and System Controller includes a toothed rack and the
chassis includes clutched pinions in the front of slot IB6_SSC1.
- Clutch grease changed from Reell 9236-001 to 695-018 (Krytox GPL 226)
in February 2008.
(WO_38608)
Assembly Notes
- Assembly 541-1486 includes Top Cover/Door 540-6817, I/O Board 501-7544,
System Controller 501-7325, PCI Riser 501-7542, Dual Serial Cable 530-3574,
Ethernet Cable 530-3700, Thermal Fuse Cable 530-3577, and
two 540-6818 Fans.
References
Sun Fire V1280 Server Documentation.
Sun Netra 1280 Server Documentation.
Sun Fire E2900 Server Documentation.
|