Sun Microsystems, Inc.   Oracle System Handbook - ISO 7.0 May 2018 Internal/Partner Edition
   Home | Current Systems | Former STK Products | EOL Systems | Components | General Info | Search | Feedback



PCI+ I/O Board and System Controller (IB_SSC)

501-7601 501-7325 541-1020
I/O Board
FAB 270-6812
System Controller
FAB 270-6631
IB_SSC Assembly/FRU

PCI Riser Assembly 541-1511
with PCI+ Riser 501-7542

I/O Board Cable Conections
(under Media Bay cover)

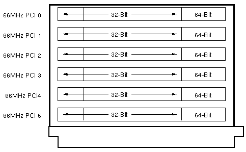
Netra 1290 Codename: Everglades

Mechanical Notes

  1. The maximum PCI Card length is approximately 197 mm.
  2. The I/O Board and System Controller slot is labeled IB6_SSC1.
  3. The I/O Board and System Controller includes a toothed rack and the chassis includes clutched pinions in the front of slot IB6_SSC1.
  4. Refer to the Install.info file of any Firmware patch for information on firmware verification and compatibility.

Assembly Notes

  1. Assembly 541-1020 includes Top Cover/Door 540-6823, I/O Board 501-7601, System Controller 501-7325, PCI Riser 501-7542, Dual Serial Cable 530-3574, Ethernet Cable 530-3700, Thermal Fuse Cable 530-3577, and two 540-6818 Fans.

References

  1. Netra 1290 Server Documentation.

  Copyright © 2018 Oracle and/or its affiliates.  All rights reserved.
 Feedback