Sun Microsystems, Inc.   Oracle System Handbook - ISO 7.0 May 2018 Internal/Partner Edition
   Home | Current Systems | Former STK Products | EOL Systems | Components | General Info | Search | Feedback



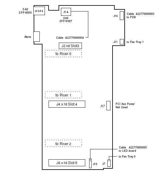
3-Slot PCI Tray

Telco: Netra X4270

No Part # 371-4751
PCI Tray Board
411778800022
PCI Tray FRU
411778800022 + Tray


Netra X4270 Codename: Aurigi

Notes

  1. The Riser, Tray, and Filler Panels do not have individual Sun part numbers.
  2. Slot 3 is reserved for HBA 371-3255.
  3. Slot 4 and 5 PCI Express Channels are x16 mechanical and x8 electrical.

References

  1. Sun Netra X4270 Server Documentation.

  Copyright © 2018 Oracle and/or its affiliates.  All rights reserved.
 Feedback